Wanted: Factory Sunroof Handle Assembly for 89GT
- pghturbo88
- Registered User
- Posts: 99
- Joined: Sat Apr 05, 2008 9:16 am
Wanted: Factory Sunroof Handle Assembly for 89GT
Does anybody have a factory sunroof handle assembly for an 89 GT?
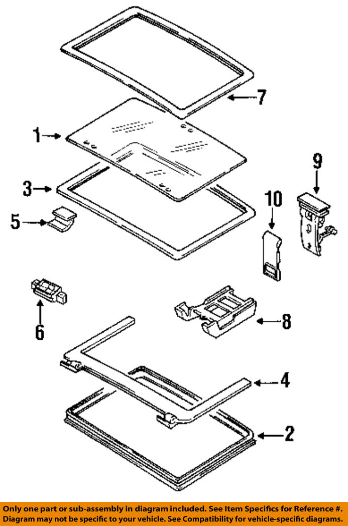
I am looking for the handle part that attaches to sunroof itself via two screws. If you were to remove the sunroof from the car on a sunny day, I would be looking for the entire handle assembly that remains with the glass and is located on the rear portion of the sunroof. It is part # 9 on the image below. I do not need # 8, that part on the car interior is OK. Shipping is to Gibsonia PA 15044.
Thank you!
I am looking for the handle part that attaches to sunroof itself via two screws. If you were to remove the sunroof from the car on a sunny day, I would be looking for the entire handle assembly that remains with the glass and is located on the rear portion of the sunroof. It is part # 9 on the image below. I do not need # 8, that part on the car interior is OK. Shipping is to Gibsonia PA 15044.
Thank you!